Транцевые колеса стандартные Комбо
Транцевые колеса стандартные Комбо.
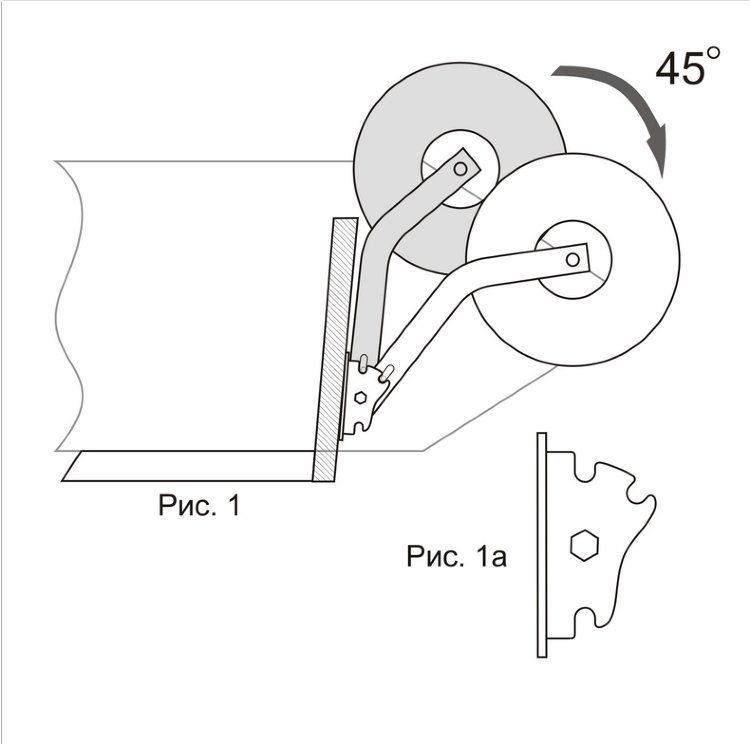
Транцевые шасси имеют три паза предназначен для пайольных лодок.
В верхней части площадок крепления расположены два паза - прямой и под углом 45 градусов. Это делает модель "Комбо" универсальной - она подойдет для лодок без брызговиков, с брызговиками, а также для лодок с узким транцем, в которых стойки шасси могут мешать манипуляциям с мотором.
Высота 450 мм., позволяет устанавливать на лодки длиной от 3.5 м. с отбортовкой транца, также на суда с ярко выраженным килевым транцем (типа Касатки, Альтаир и др.).
Материалы и описание:
· Колеса: надувные резиновые шины с камерой на пластиковых дисках без подшипников.
· Диаметр колеса: Ø260 мм.
· Стойка колеса: нержавеющая сталь, диаметр трубы 32 мм., толщина стенки 2 мм.
· Высота стойки колеса: 45 см.
· Ось колеса: нержавеющая сталь, диаметр 20 мм., толщина стенки 1,5 мм.
· Откидной механизм: нержавеющая сталь, толщина 3 мм.
· Пружинка механизма: нержавеющая сталь.
· Фурнитура: нержавеющая сталь.
· Вес: 4.8 кг.
Особенности:
· Складные и при необходимости съемные колеса.
· Не требуют монтажа и демонтажа при каждом использовании лодки.
· Складываются и раскладываются колёса в ручную, т.е. без применения каких-либо инструментов.
· Делают возможным перемещение лодки одним человеком.
· Сложенные и заблокированные колеса не препятствуют перемещению по воде.
· Не ограничивают поворот мотора, что особенно важно при маневрировании.
· Не портят общий внешний вид лодки на воде.
· Позволяют сворачивать спущенную лодку непосредственно с установленными на ней колесами.
· Колеса могут быть установлены на любой транцевой лодке.
Производство: Россия.
| Вес | 5.3 кг |
| Бренд | Россия |













